Сообщаем, что из-за повышения стоимости сырья, комплектующих и транспортировки мы вынуждены, одними из последних...
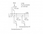
НКУ ГОХО ПЭСПЗ А.Г.3 (модель ГОХО НКУ ПЭСПЗ 220/40-1/1*25А1р,1*16А1р-30-УХЛ4) — является НКУ для питания электроприемников СПЗ на объектах, которые отнесены к третьей категории по надежности электроснабжения, что соответствует требованиям пункта 5.4 свода правил СП 6.13130.2021.
НКУ предназначено для питания однофазных приемников.
Вводной АВ номиналом 40 А, отходящие две линии 25A и 16A.







